Possibly the biggest design flaw Yamaha ever made, the crappy XJ fuse box is a source of aggravation for every owner sooner or later. The quick solution is to replace it with four in-line weatherproof fuse holders, but Brian H. kept everything neat with this nifty replacement box using off-the shelf fuse holders, some aluminium, and a little inginuity. He even added a spare fuse holder!

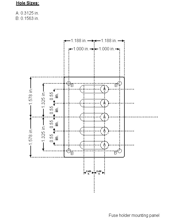
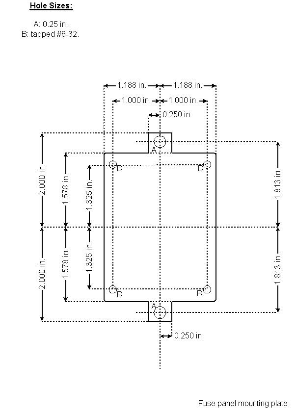
Click on the drawings for full-size templates.
fuse panel 1
fuse box
fuse panel 2